Canon Group
Close Close
Menu Menu Close Close Search
PIXMA MG5150 Everyday Support
FAQs & troubleshooting

Initial Hardware Setup

Content Id: 8200803700


Preparation

Caution

Do not install the machine where an object may fall on it. In addition, do not place any object on the top of the machine. It may fall into the machine when opening covers, resulting in malfunction.
Paper Output Tray (A) automatically opens when printing starts. Do not place anything in front of the Paper Output Tray.

1.

Make sure all the following items are supplied.

(1) Ink tanks (5: BK, M, Y, PGBK, C)

(2) Power cord

(3) Manuals

(4) Setup CD-ROM (containing the drivers, applications and onscreen manuals)

(5) Other documents

Caution

A USB cable is necessary to connect the machine with your computer.

2.

Remove all orange tape and protective materials from the inside and outside of the machine.

Caution

The tape and protective materials may differ in shape and position from what they actually are.

3.

Insert the power cord into the connector on the left side at the back of the machine and into the wall outlet firmly.

Caution

Do NOT connect the USB cable at this stage.
Make sure that the Document Cover (B) is closed.

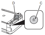
4.

Press the ON button (C), then adjust the LCD (Liquid Crystal Display) (D) to a comfortable viewing angle.

Caution

The machine may make some operating noises. This is normal operation.
It takes about 4 seconds for the ON button to work after the power cord is plugged in.

5.

Use the or button (E) on the Operation Panel to select the language for the LCD, then press the OK button.

6.

When the above screen appears, press the OK button, then go to the next step.

Caution

If an unintended language is displayed on the LCD, press the Back button (F) to return to the Language selection screen.

Caution

When it is necessary to turn off the machine

Be sure to follow the procedure below.

(1) Press the ON button to turn off the machine.

(2) Make sure that the POWER lamp (G) is not lit.

Operating noise may continue for up to 35 seconds until the machine turns off.

Caution

When removing the power plug, make sure that the POWER lamp is not lit before removing the plug. Removing the power plug while the POWER lamp lights up or flashes may cause drying and clogging of the Print Head, resulting in poor printing.

Caution

The specification of the power cord differs for each country or region.

Install the Ink Tanks

1.

Open the Paper Output Tray (A), then lift the Scanning Unit (Cover) (B) until it stops.

Close the Document Cover (C) and lift it with the Scanning Unit (Cover).

2.

The Print Head Holder (D) moves to the installation position.

If the Print Head Holder does not move, make sure that the machine is turned on. For details, refer to 3 to 4 in "Preparation"

3.

(1) Remove the orange tape completely.

(2) Remove the protective film completely.

4.

 

Hold the ink tank with the orange protective cap (E) pointing up while being careful not to block the L-shape air hole (F).

Caution

Handle the ink tanks carefully. Do not drop or apply excessive pressure to them.
Be sure to use the supplied ink tanks.
If the orange tape remains on the L-shape air hole, ink may splash or the machine may not print properly.
If you push the sides of the ink tank with the L-shape air hole blocked, ink may splash.

5.

 

Hold the ink tank by its sides and slowly twist the orange protective cap 90 degrees horizontally to remove it off.

Do not push the sides of the ink tank.

Caution

Do not touch the inside (G) of the orange protective cap or the open ink port (H). The ink may stain your hands if you touch them.

6.

Tilt the ink tank, then insert it under the label and against the back end of the slot.

Make sure that the color of the label matches the ink tank.

Caution

Install in a well-lit environment.
Do not touch the Print Head Lock Lever (I).

7.

Press the PUSH mark on the ink tank firmly until it clicks.

When the installation is completed properly, the Ink lamp lights red.

8.

Install all the other ink tanks in the same way according to the color order indicated on the label.

lamp lights red. Make sure all the Ink lamps light red.

Caution

Once you have installed the ink tanks, do not remove them unnecessarily.
If the Print Head Holder moves to the right, close and reopen the Scanning Unit (Cover).

Incomplete installation

9.

Lift the Scanning Unit (Cover) slightly, then gently close it.

10.

Make sure that the LCD changes as shown in the illustration and go to the next step.

Load plain paper in the Cassette by referring to "Load Paper" and press the OK button.

It takes about 4 minutes before the LCD changes.
The machine may make some operating noises when preparing to print. This is normal operation.

Caution

If an error message is displayed on the LCD, make sure that the ink tanks are correctly installed.

Caution

The LCD will turn off if the machine is not operated for about 5 minutes.

To restore the display, press any button except the ON button.

Load Paper

1.

Close the Paper Output Tray (A).

2.

Pull out the Cassette (B).

Caution

The Cassette supports plain paper only. To load specialty paper including photo paper, refer from 8.

3.

Move the left Paper Guide (C) to the edge.

4.

Slide the front Paper Guide (D) to align with the actual size of the paper.

The front Paper Guide will click and stop when it aligns with the corresponding mark of paper size.

5.

Load plain paper.

Load paper with the printing side facing down.

6.

Align the paper to the right side of the Cassette (1), and slide the left Paper Guide completely against the left edge of the paper (2).

Make sure that the height of the paper stack does not exceed the line (E).

7.

Insert the Cassette slowly into the machine until it clicks into place.

8.

Prepare the Paper Support (F).

(1) Open it.

(2) Withdraw it upwards.

(3) Tilt it back.

9.

Move the Paper Guides (G) to both edges.

10.

Load paper in the center of the Rear Tray (H).

Load paper in portrait orientation with the printing side facing up.

Caution

Load specialty paper including photo paper in the Rear Tray.

11.

Slide the left and right Paper Guides against both edges of the paper.

Make sure that the height of the paper stack does not exceed the line (I).

Caution

For details on how to handle paper, refer to [ Loading Paper ].

"Was this helpful?"